ClearFox® QuickOne
Kleinkläranlage
Tagline
- Nahezu gräuschlos
- Geruchlos
- Geringer Wartungsaufwand
- Zertifiziert nach EN 12566-3
Beschreibung
Die ClearFox® QuickOne+ ist eine komplett vormontierte SBR- Kleinkläranlage. Sie wird in Deutschland von der PPU Umwelttechnik GmbH hergestellt. Sie eignet sich für Neubauten oder als Nachrüstung eines Klärgrubensystems – ideal für Häuser, Schulen, Restaurants und andere gewerbliche oder häusliche Anwendungen. Erhältlich sind Komplettsysteme für bis zu 24 EW.
Die ClearFox® QuickOne+ gewährleistet eine marktführende Abwasserqualität mit der Möglichkeit, Zusatzmodule für die Phosphorentfernung und Desinfektion zu integrieren. Die Entschlammungsintervalle liegen bei über einem Jahr. Dank eines integrierten Drucksensors kann die ClearFox® QuickOne+ die Belüftungszeiten selbstständig anpassen, indem sie den Abwasserzufluss in das System misst und überwacht. Bei höheren Zuflussspitzen erhöht das System die Sauerstoffzufuhr, um die Leistung zu verbessern. Bei geringem Zufluss schaltet das System in den Standby-Modus.
Funktionsweise
1. Füllphase
Das Abwasser fließt in die ClearFox® QuickOne. Die automatische Füllstandsmessung erkennt, wann das Abwasser in die Kleinkläranlage fließt. Das System passt die Zyklen automatisch an.

2. Belüftungs- und Behandlungsphase
Das System bläst über Belüfterteller am Boden des Tanks Luft in das Abwasser ein. Während des Belüftungsvorgangs verbrauchen die Mikroorganismen den Kohlenstoff und Stickstoff im Abwasser. Die Dauer der Belüftung wird an die Menge des Abwassers angepasst. Je mehr Abwasser in den Behälter fließt, desto länger dauert die Belüftungsphase. Dadurch wird auch eine gleichmäßige Durchmischung des Abwassers gewährleistet. Der Prozess ist vollständig biologisch und erfordert keine Zugabe von Chemikalien.

3. Absetzphase
Nach der Belüftung folgt eine Absetzphase, in der sich Biomasse und Belebtschlamm absetzen. Das verbleibende saubere Wasser an der Oberfläche ist das behandelte Abwasser, das zur Ableitung bereit ist.

4. Spülung
Bevor das System das saubere Wasser aus dem System ableitet, spült es die Rohre der Lufthebepumpe mit Druckluft durch, um sie zu reinigen und alle Schwebstoffe zu entfernen, die sich darin abgesetzt haben. Dadurch wird ein sehr niedriger Gehalt an Schwebstoffen im gereinigten Abwasser gewährleistet.

5. Klarwasserabzug
In dieser letzten Phase wird das gereinigte Abwasser durch eine verstopfungsfreie Lufthebepumpe aus dem System abgeleitet. Das System führt das gereinigte Wasser vollständig aus dem oberen Teil der Wassersäule ab. Dieses eignet sich für die Bewässerung, die direkte Ableitung oder die Wiederverwendung.

Vorteile
- ✓ Garantierte Einhaltung aller Vorschriften
Zertifiziert nach EN12566-3 und gemäß allen europäischen Standards und Normen. Von Umweltschutzbehörden weltweit anerkannt.
- ✓ 15 Jahre Sicherheit
Wir geben 15 Jahre Herstellergarantie auf den Tankkörper unserer Kleinkläranlagen (bei fachgerechtem Einbau nach Anleitung).
- ✓ Internationale Erfahrung
Erfolgreich in über 50 Ländern weltweit installiert. Eine bewährte, ausgereifte Lösung, die alle Erwartungen übertrifft.
- ✓ Made in Germany
Die Herstellung erfolgt unter strengen Qualitätskontrollen an unserem Hauptsitz in Bayreuth, Deutschland.
- ✓ Hochwertige Verarbeitung
Einteiliger, rotationsgeformter Tank, verstärkt mit rostfreiem Stahl für eine lang anhaltende Leistung.
- ✓ Service nach dem Kauf
Ein engagiertes Team für den Kundenservice steht zur Verfügung.
Videos
Eigenschaften
| Stromverbrauch | 0,52 kWh/Tag |
|---|---|
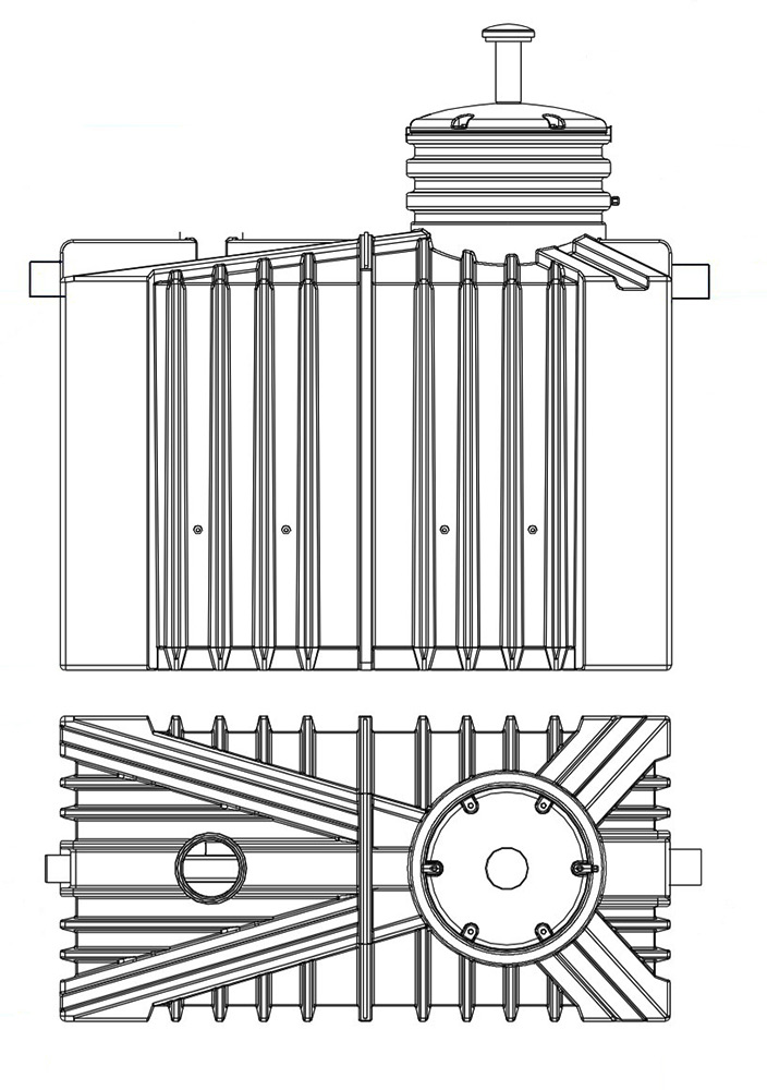
| Abmessungen | Höhe: 220 cm Länge: 153 cm Breite: 122 cm |
| Kapazität | 4 EW |
| Ablaufklasse | N |
| Reinigungsleistung | CSB: 93.7% BSB: 98.1% TN: 67.6% NH4-N: 99.4% SS: 95.8% |
| Auslassqualität | CSB: 48 mg/l BSB: 6 mg/l TN: 18 mg/l NH4-N: 0.2 mg/l SS: 17 mg/l |
| Grad der Verwendung | Direkte Einleitung |
| Material | KG / PE |
| Downloads | Zeichnung |

| Stromverbrauch | 0,52 kWh/Tag |
|---|---|
| Abmessungen | Höhe: 220 cm Länge: 243 cm Breite: 122 cm |
| Kapazität | 6 EW |
| Ablaufklasse | N |
| Reinigungsleistung | CSB: 93.7% BSB: 98.1% TN: 67.6% NH4-N: 99.4% SS: 95.8% |
| Auslassqualität | CSB: 48 mg/l BSB: 6 mg/l TN: 18 mg/l NH4-N: 0.2 mg/l SS: 17 mg/l |
| Grad der Verwendung | Direkte Einleitung |
| Material | KG / PE |
| Downloads | Zeichnung |

| Stromverbrauch | 1,04 kWh/Tag |
|---|---|
| Abmessungen | Höhe: 220 cm Länge: 486 cm Breite: 122 cm |
| Kapazität | 12 EW |
| Ablaufklasse | N |
| Reinigungsleistung | CSB: 93.7% BSB: 98.1% TN: 67.6% NH4-N: 99.4% SS: 95.8% |
| Auslassqualität | CSB: 48 mg/l BSB: 6 mg/l TN: 18 mg/l NH4-N: 0.2 mg/l SS: 17 mg/l |
| Grad der Verwendung | Direkte Einleitung |
| Material | KG / PE |
| Downloads | Zeichnung |

| Stromverbrauch | 1,55 kWh/Tag |
|---|---|
| Abmessungen | Höhe: 220 cm Länge: 729 cm Breite: 122 cm |
| Kapazität | 18 EW |
| Ablaufklasse | N |
| Reinigungsleistung | CSB: 93.7% BSB: 98.1% TN: 67.6% NH4-N: 99.4% SS: 95.8% |
| Auslassqualität | CSB: 48 mg/l BSB: 6 mg/l TN: 18 mg/l NH4-N: 0.2 mg/l SS: 17 mg/l |
| Grad der Verwendung | Direkte Einleitung |
| Material | KG / PE |
| Downloads | Zeichnung |

| Stromverbrauch | 2,1 kWh/Tag |
|---|---|
| Abmessungen | Höhe: 220 cm Länge: 729 cm Breite: 244 cm |
| Kapazität | 24 EW |
| Ablaufklasse | N |
| Reinigungsleistung | CSB: 93.7% BSB: 98.1% TN: 67.6% NH4-N: 99.4% SS: 95.8% |
| Auslassqualität | CSB: 48 mg/l BSB: 6 mg/l TN: 18 mg/l NH4-N: 0.2 mg/l SS: 17 mg/l |
| Grad der Verwendung | Direkte Einleitung |
| Material | KG / PE |
| Downloads | Zeichnung |

Downloads
Referenzprojekte
FAQs
1. Was ist die ClearFox® QuickOne+?
Die ClearFox® QuickOne+ ist eine komplett vormontierte Sequencing Batch Reactor (SBR)-Kleinkläranlage für Anwendungen von 4 bis 24 Einwohnergleichwerten (EGW). Sie wird in Deutschland von der PPU Umwelttechnik GmbH hergestellt und eignet sich für Neubauten oder als Nachrüstung bestehender Klärgrubensysteme in Wohngebieten, Gewerbebetrieben oder Haushalten.
2. Wie funktioniert die ClearFox® QuickOne+?
Das System arbeitet mit der SBR-Technologie und vollständig belüfteten Kammern. Es verfügt über ein intelligentes SBR-Verfahren, das die Belüftungszeiten automatisch an die Zuflussbedingungen anpasst. Ein integrierter Drucksensor ermöglicht es dem System, die Sauerstoffzufuhr während höherer Zuflussspitzen zu erhöhen, um die Leistung zu steigern, und während Zeiten mit geringem Zufluss in den Standby-Modus zu wechseln.
3. Was sind die wichtigsten Merkmale der ClearFox® QuickOne+?
- Keine Ersatzteile: Keine Komponenten, die regelmäßig ausgetauscht werden müssen.
- Kein Rauschen: Arbeitet geräuschlos und gewährleistet eine störungsfreie Nutzung.
- Kein Geruch: Entwickelt, um unangenehme Gerüche zu vermeiden.
- EN 12566-3 zertifiziert: Erfüllt die europäischen Normen für Kleinkläranlagen.
4. Kann die ClearFox® QuickOne+ in sensiblen Bereichen mit hohen Umweltstandards installiert werden?
5. In welchen Abständen muss die ClearFox® QuickOne+ entschlammt werden?
Das System wurde getestet und hat bewiesen, dass es Entschlammungsintervalle von mehr als einem Jahr hat. Dies reduziert die Wartungshäufigkeit und die damit verbundenen Kosten.
6. Ist die ClearFox® QuickOne+ für die Nachrüstung bestehender Klärgruben geeignet?
Ja, die ClearFox® Nature kann zur Nachrüstung bestehender Klärgruben verwendet werden, um die Effizienz der Abwasserreinigung ohne Strom zu erhöhen.
7. Für welche Anwendungen ist die ClearFox® QuickOne+ geeignet?
Die Anlage ist vielseitig und kann in verschiedenen Bereichen wie in Wohnhäusern, Schulen, Restaurants und anderen gewerblichen oder häuslichen Anwendungen eingesetzt werden. Das System ist eine effiziente Lösungen für die Abwasserreinigung.















